本切割機是一種數字程序控制的現代化切割設備,除切割操作的自動化外,它還具有切割精度高、材料利用率高、生產效率高等特點。隨著機械電子技術和計算機技術的進步,數控切割機以其良好的人機對話操作界面、強大的輔助支持功能以及相對很低的設備投資,正被越來越多的企業所重視,在生產中得到越來越廣泛的應用。
★ 本機其數控功能與龍門式大型數控切割機一樣,能切割任意復雜平面圖形。適用于氧、燃氣火焰切割和等離子切割。且與半自動切割小車一樣方便靈活,隨意搬移,不占固定場地。
★ 本機編程套料簡單,既可對簡單圖形進行手工編程,也可通過隨機贈送的編程軟件進行任意復雜圖形的自動編程。該軟件采用交互式對話方式,圖形數據自動轉換,不需人工編寫代碼。將AutoCAD繪制的零件圖清理后直接存儲為DXF文件,再通過編程軟件進行排放,選擇合適的編程參數后直接生成切割所需G代碼文件。
★ 文件傳輸儲存方便靈活:支持USB接口,用戶可將所需切割文件輸出到U盤,然后插到本切割機的USB接口即可實現文件的傳輸。
★ 操作簡單方便:操作時既可像半自動小車一樣手動切割,也可像大型數控一樣自動切割。
★ 5.7寸高分辨點陣液晶顯示器、全中文菜單、漢字提示、動靜態加工圖形顯示,直觀易學。

HNC-1800W-Q 該系列使用高性價比的輕軌給低預算的客戶提供了不錯的選擇。

HNC-1800W 這個系列采用重型導軌工作更穩定。


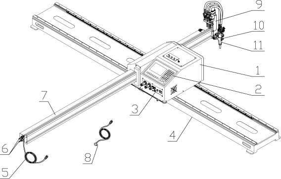
1.主機
2.控制系統
3.操作面板總成
4.縱向導軌總成
5.升降電機線
6. 供氣接口
7.橫向導軌總成
8.電源線
9.升降裝置總成
10.割炬夾持總成
11.割炬總成

HUAWEI WELLCUT HYPERTHERM VICTOR Thermal-Dynamics
可供選擇的切割電源
技術參數

裝箱單
下列為驗收的標準單割炬配置零部件清單。用戶收到貨開箱后,請及時按照裝箱單清點物品數量,檢查各部件以確認其完整無缺。如有問題請及時與我公司聯系。
|
序號 |
名稱 |
數量 |
附注 |
|
組裝零部件 |
|||
|
1 |
主機 |
1 |
|
|
2 |
橫向導軌 |
1 |
鋁型材 |
|
3 |
縱向導軌 |
1 |
|
|
4 |
割炬總成 |
1 |
|
|
5 |
電源線 |
1 |
9m |
|
技術資料 |
|||
|
1 |
機械操作手冊 |
1 |
|
